
蘋果新研發「Apple Ring」概念圖曝光~超Q戒指轉台功能、遠端控制手機功能超齊全!
相信身為果迷,除了 Apple 手機是必備,Apple 推出的周邊產品都讓人想要掏荷包入手一番,無論是 iPad、Mac 電腦、Apple watch又或者是時下最夯的 AirPods 無線耳機都是人手一台,而現在傳出 Apple 又即將推出一款同樣是高科技的研發新品「蘋果智能戒指(Apple Ring)」,各位果粉們準備把荷包準備好啦!
Photo from appleinsider
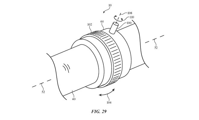
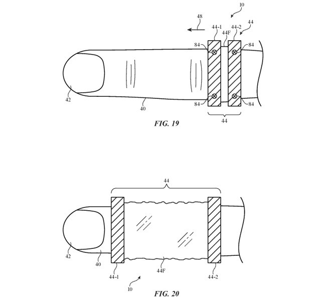
「蘋果智能戒指(Apple Ring)」將為一款 Apple 專利可穿戴式電子設備,而它不僅僅只是一般「戒指」而已,根據外媒 AppleInsider 曝光的設計圖,Apple Ring 將為一款可隨著手指粗細和隨著關節拉伸的智慧型設計,光是設計圖就已經讓人歎為觀止,大讚 Apple 的創意與設計理念!
Photo from appleinsider
Photo from appleinsider
而在這麼小的戒指上,會擁有什麼功能呢?Apple Ring 不僅可以用來遠端控制手機、電腦、耳機等智能裝置外,Apple watch 有的偵測血壓、計算步行數、身體姿勢等體感數據,Apple Ring 都將具有 Apple watch 功能,而優點則是更不佔體積,戴著就走。
Photo from appleinsider
若僅僅只是與 Apple watch 一樣就太沒有新意啦,因此據傳 Apple Ring 還會有配戴麥克風、觸控螢幕等功能,還會有「無線收發器」能偵測使用者的手部動作來完成相應的指令,連接其他裝置或是解鎖 Macbook 等以及「語音指令」等可以轉台 Apple TV、調整音量等,超令人期待!
Photo from Pinterest
雖然 Apple Ring 都還在研發階段,但相信已經讓許多粉絲開始期待問市啦!
-
By 台灣女生日常編輯部
追蹤IG帳號:girlstyle.tw




